『部品選び』
いろいろな形状があることは、前回把握していたので、今回は選択条件がはっきりしています。
(1) ミニジャックが使えること。 (普通のラジオやmp3プレーヤーで使うイヤホンの形状。)
(2)ステレオ対応であること。
(3)挿入連動切換スイッチが付いていること。
(4)超小型外形であること。
結局、今回も秋葉原の鈴商店頭で入手しました。
鈴商ホームページ http://www.suzushoweb.com/
ただし単品ではなく、超ミニジャックと連結されていたものを分割して使用しました。
無線機のスピーカマイク用のようです。
2連ジャック: P/N (部品番号) SMK LGA2519-3200 3.5φst/2.5φst 100円

|
『スピーカ取り外し』 |
|
スピーカへの配線を変更する必要があり、この際スピーカに半田付けをするので、スピーカを取り外し既存のスプリング電極を除去。

前回は、アルミシールドを切断しすぎたので、今回は切れ目を入れてめくりあげるようにしました。
アルミ板は除去していません。
|
『回路構想』

回路は、前回と同じで良いと思ったのですが、実際にはジャックの内部が少し異なっていました。
正確なジャックの構造を特許図面風に書いて説明してみました。

図1は、本イヤホン回路に挿入するイヤホンプラグと、イヤホンジャックとを示す説明図である。
イヤホンプラグの最先端電極(L)は左側のイヤホンに接続され、中央部電極(R)は、右側のイヤホンに接続される。(なおL,R逆でも支障ない。)
どちらの電極からの信号も軸部電極(C)により共通化され、帰還する。
これは、通常の市販ステレオイヤホンについての説明である。
図1のイヤホンジャックは箱状体の中に、前記ステレオプラグの最先端電極(L)に対応して接触する電極3、前記中央部電極(R)に対応して接触する電極5、前記軸部電極(C)に対応して接触する電極1が設けられている。
また、前記電極2は電極3に、前記電極5は電極4に、それぞれ自己の有するバネ構造により接触し、回路を構成(導通)している。
すなわち、電極2−電極3間、電極4−電極5間は導通状態である。

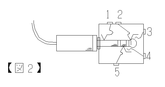
図2は、イヤホンプラグが、イヤホンジャックに挿入された状態をあらわす説明図である。
最先端電極(L)が電極3に、中央部電極(R)が電極5に、軸部電極(C)が電極1に接触していることがわかる。
ここで挿入されたイヤホンプラグにより、電極2および電極5に接触すると同時に、両電極を外方へ押し上げ(押し広げ)、電極3、電極4は回路開放(無導通)状態となる。
すなわち、電極2−電極3間、電極4−電極5間は非導通状態となる。
図3: モノラルプラグの説明図
今回も、ステレオ、モノラル両ジャックに対応すべく、イヤホンへの給電は先端電極(電極2、電極5)を使用し、共通電極1は使用しません。
モノラルでは共通電極を使用することがあたりまえなのですが、そうするとステレオイヤホンを挿入したときに、片側からしか音が出ません。
先端電極を使用すれば、モノラルプラグでもステレオプラグでも信号を送れます。
(つまり、モノラルプラグの軸電極(C)は、電極5と電極1の両方が使える(どちらでも良い)ため、電極5を選択したということです。)
『穴あけ加工、位置決め』

大きさから、普通に穴を開けたのでは挿入することができないので、Uの字型にして、上から装着させるかたちにしました。

ジャックは、角を削る(トリム)することで装着性を良くします。
また、筐体の仕切り板を切断する必要があります。 |
|

ジャックを仮着けしたところ、電池のスプリングが邪魔になります。
そこで、電池スプリングの「一部を切断して、細い電線でつなぎます。
これで、スプリングの厚み(実測0.8mm)を回避(隙間の余裕)できます。

最終的な穴形状(U字状)
電池の電極に触れないように、薄い絶縁板(セパレータ)を入れます。
|
イヤホンジャックへの配線

上で説明したとおり、ジャックの先端電極へ配線します。
イヤホンプラグが挿入され(差し込まれ)ていないときには、図4の右側のスプリングから送出された信号は、太線のように接続されて、スピーカに達します。

イヤホンプラグを挿入したときには、送出信号は電極2、電極5から減衰用抵抗を通じてイヤホンへ供給されると同時に、電極3はイヤホンプラグに押されて開放(オープン)され、スピーカへの給電(供給信号)が止まり(音が出なくなり)ます。
|
|
|
イヤホンを挿入したときに減衰(音を小さく)させる必要がありますが、使用するイヤホンによって、聞こえ方が異なりますので、とりあえず2キロオームを直列に入れました。
この抵抗値は、個体差、個人差があり、実際に聞いてみないと最適値が決まりません。
ここは、調整ボリュームが欲しいところではあります。
(市販にボリューム付きイヤホンがあるので、音量の問題は普遍的(良くあること)なようです。)
amazon.co.jpで調べる。ボリューム付きイヤホン
yahoo!ショッピングでのボリューム(音量調整)付きイヤホン例

なおジャックの取り付けは、上下の筐体ではさんでいるだけであり、接着剤は使用していません。
(分解、改造容易性、電池蓋挿入への阻害要因考慮です。)
|

最終取り付け状況(外観)は、ジャックの先端が少し飛び出します。
|
|
|
改造お申し込み |
|