
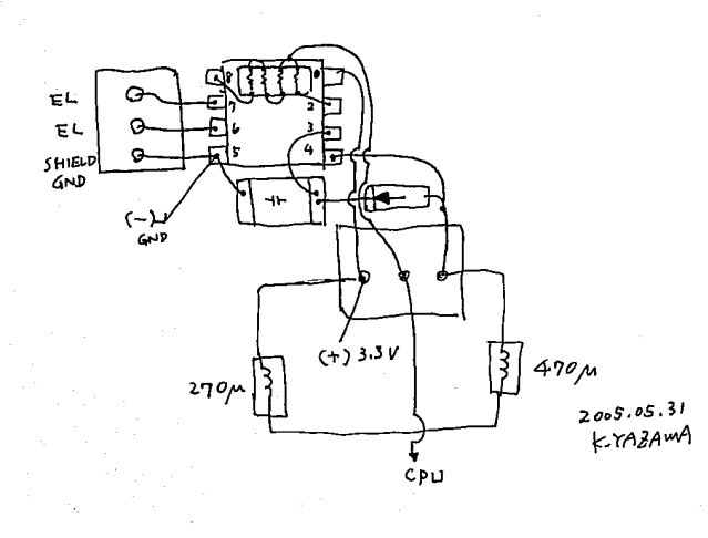
インダクタ容量[μH]
470(MID)、270(HI)、680(LOW) |
  |
|
|
(a1)このインバーターは、ドライバによるON/OFF用です。
(Inverter IC HV823使用)
(表裏がわかるように、2個を裏表に配置して撮影) |
|

|
電源を取る位置は、3.3[V]であれば、どこでも良いのですが、
写真のように、マイナス(負極)(青線)は、左上のインダクタの一端子から、
またプラス(正極)(赤線)は、ダイオードの一端から取っています。
あらかじめ、テスタで電圧を確認しておきます。
写真では、動作確認のために、ピンセットで端子をジャンプさせて(導通させて)、バックライトONの信号を(+)電源から仮に取っているところです。
ここで、一度点灯させると、ジャンプを外しても電源OFFにするまで消えません。(まだCPUには接続させていないので、オープン状態により不安定なため、ジャンプを解いてもOFFの信号にならない) |
|
 |
バックライトのON/OFF制御を行うための、コントロール信号の結線は、写真の位置になります。
|
|
 |
  |
|
| (b1)頒布用セット |
(b1)このインバーターは、ドライバ無しでの電源連動ON/OFF用です。
NANDゲートを追加したものです。
(表裏がわかるように、2個を裏表に配置して撮影)
このゲートは、(a1)用を常時ONに設定すると(ジャンパーにより)、
電源をOFFにしてもバックライトが消灯しないための工夫です。
補足説明:インバーターの電源は、3.3V電源から供給しますが、
この電源はSW OFFでも供給されています。
PCMCIA用5Vから取れば、この問題(常時点灯)はありませんが、
点灯時にカードの抜差しをすると、200LXがハングする問題が生じました。
|
|
 |
左の写真は上のインバーターで発光中の出力波形です。
周波数295Hz 電圧約60V
写真はELの一極と接地との間の波形ですので半波波形です。
ELには全波波形120V(P-P)が供給されています。
(2006.05.31) |
|
 |
この写真は、別のインバーターでの全波波形です。
同じ部品を使っていますが、周波数が微妙に異なります。
明るさには差がありません。 |
|